罗永浩自曝,这种病成人患者越来越多
2025年12月30日晚,罗永浩2025年度科技创新分享大会(下称“科技春晚”)在上海举行。罗永浩迟到了40多分钟才出现在讲台上。次日凌晨两点多,他在微博发文解
2025年12月30日晚,罗永浩2025年度科技创新分享大会(下称“科技春晚”)在上海举行。罗永浩迟到了40多分钟才出现在讲台上。次日凌晨两点多,他在微博发文解
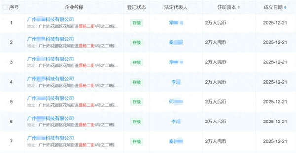
近日,有网友反映,广州花都区一小区,有数百户住宅被莫名注册为公司,业主们对此却并不知情。1月5日,合景保利香樾四季花园小区一名业主告诉中国新闻周刊,近日有业主办
近日,福建籍女子吴某桢流落柬埔寨街头的消息引发广泛关注。中国新闻周刊从收治该女子的当地医院了解到,吴某桢被诊断出肺部感染、胸腔积液等多种病症,同时,她的毒品检测
“25个员工里,24个是骗子。”近日,一位老板的离奇遭遇在网络上引发热议。据媒体报道,该老板深陷一场精心设计的入职骗局。更令人咋舌的是,这些骗子私下里还共享“好
新华社伦敦1月8日电(记者赵小娜)哈佛大学经济学教授、国际货币基金组织(IMF)前第一副总裁吉塔·戈皮纳特日前在英国《金融时报》撰文指出
国家级射击教练员田红曾平过世界纪录。21岁那年,她作为营口市射击队队员,在全国六运会射击预赛中,取得标准步枪60发卧射598环的优异成绩,平了波兰运动员创造的世
岁序更替,华章日新。当时间的钟摆指向2026年,世界迎来了新年曙光。 新年前夕,中国国家主席习近平在北京发表了二〇二六年新年贺词。透过充满温暖与期许的话语
第一批次通关洋浦港的运输船凌晨抵港;第一批滚装货车顺利通过海口新海港和南港“二线口岸”;美兰机场的海关关员对享受“零关税
“炸弹又一次冰雹般落下……我们转弯开进上海路,街道上到处躺着死亡的平民,再往前开迎面碰上了向前推进的日本兵。”——《拉贝日记》,1937年12月13日。
“在全球经济不确定性上升的背景下,中国以更主动、更稳健的政策调节经济,有助于自身经济增长,并为世界经济提供有效需求。”对于10日至1
8日,随着青岛港集装箱船舶完成装卸作业,这个世界第四大港今年货物吞吐量累计突破7亿吨,比去年突破这一数字提前了15天。青岛港相关负责人告诉《国际锐评》,这得
新华社华盛顿1月8日电 美国福克斯新闻频道前主持人塔克·卡尔森7日表示,美国总统特朗普表示将2027财年美国军费提高至1.5万亿美元,显示美国可能正在为一场